Page 1 of 2
Oil Change Question
Posted: Mon Jul 20, 2020 9:10 pm
Author: kiwikodi
Hi all. First post and wanted to ask about flushing your engine when changing oil.
Early 73, only had her a couple months and doing some housekeeping. Got new filter and Motul 5000 10/40 semi synth. Drained sump (destroyed original sump plug in the process). Anywho what came out was like thick and black with a decent amount of sludge. Now, how do I flush it. Appreciate the cons of flushing/cleaning and risking dislodging crap throughout the engine - so do I just fit the new filter and Motul, run it through, dump and replace both again?
Re: Oil Change Question
Posted: Mon Jul 20, 2020 9:22 pm
Author: zed1015
Don't use fully synthetic oil in these, just normal 10/40 semi.
If it's that bad i would fit a new filter and some cheap 10/40.
Give it a good run , drain it out hot and then refill with another filter.
I use Smith and Allen 10/40 in all of mine, it's some of the best out there and you are not paying for the name.
https://www.ebay.co.uk/itm/Smith-Allan- ... SwMupcwEF4
Re: Oil Change Question
Posted: Tue Jul 21, 2020 6:13 am
Author: keith mayall
Tesco was doing 10/40 oil half price ,good for a few hundred miles then flush it out.Its not that bad of oil as well.
Re: Oil Change Question
Posted: Tue Jul 21, 2020 8:01 am
Author: popsA1
I would seriously consider dropping the sump. There’ll be a decent layer of sediment in there by the sound of it and you can clean the pump strainer at the same time. Cleaning the old gasket off might be a bit tricky though.
Then do the above.
Re: Oil Change Question
Posted: Tue Jul 21, 2020 9:37 am
Author: Bill P
I always drop of the sump as other Gent suggests when i get a new old bike , not a pleasant job granted but
always puts my mind at rest

Re: Oil Change Question
Posted: Tue Jul 21, 2020 12:50 pm
Author: chrisu
agree - new bike - drop the sump. There could be awful lot of crap in the bottom.
You can also check the oil pump strainer etc.
Re: Oil Change Question
Posted: Tue Jul 21, 2020 2:40 pm
Author: kev edwards
zed1015 wrote:Don't use fully synthetic oil in these, just normal 10/40 semi.
If it's that bad i would fit a new filter and some cheap 10/40.
Give it a good run , drain it out hot and then refill with another filter.
I use Smith and Allen 10/40 in all of mine, it's some of the best out there and you are not paying for the name.
https://www.ebay.co.uk/itm/Smith-Allan- ... SwMupcwEF4
That's not a bad price for a decent oil.
Re: Oil Change Question
Posted: Tue Jul 21, 2020 5:30 pm
Author: zed1015
kev edwards wrote:That's not a bad price for a decent oil.
Yep! It's very good stuff, a tenner per oil change and it's a couple of quid cheaper direct from their website.
It's getting great reviews if you Google it.
I get all my fork oil and others from them too.
Re: Oil Change Question
Posted: Sat Jul 25, 2020 8:59 am
Author: Adrianbrooksbank
Have used motul 5000 for years cleans out engine and checked via sump removal perfect but have recently changed to Smith&Allan on my classics and they are quieter,gears appear to change easier and clutch seems lighter and better actuation. Would definitely recommend it and is motorcycle spec,car oils have detergent in which affects clutch plates and can endure slip,some will disagree but have in past had to replace clutches on other people's bikes.Smith&Allan have the correct specifications for motorcycles and can be ordered through Amazon. When changing oil I prefer to run engine and drop oil and leave overnight if possible. Hope this helps
Re: Oil Change Question
Posted: Tue Jul 28, 2020 9:11 am
Author: Ultim8pc
Bill P wrote:I always drop of the sump as other Gent suggests when i get a new old bike , not a pleasant job granted but
always puts my mind at rest

Agreed.
Re: Oil Change Question
Posted: Wed Jul 29, 2020 10:08 am
Author: dave cullen
zed1015 wrote:Don't use fully synthetic oil in these, just normal 10/40 semi.
If it's that bad i would fit a new filter and some cheap 10/40.
Give it a good run , drain it out hot and then refill with another filter.
I use Smith and Allen 10/40 in all of mine, it's some of the best out there and you are not paying for the name.
https://www.ebay.co.uk/itm/Smith-Allan- ... SwMupcwEF4
good tip, as you say around a tenner for an oil change, thanks
Re: Oil Change Question
Posted: Thu Jul 30, 2020 6:53 pm
Author: kiwikodi
Ok so I decided to drop the sump and cheap out the sludge. Not sure if I’m special but I found this ‘thing’ hanging out with it’s little bits of shrapnel mates. What is it and can I assume it’s not meant to be there [image][image][img][img][/img][/img][/image][/image]
Re: Oil Change Question
Posted: Thu Jul 30, 2020 6:57 pm
Author: Bill P
Looks like a piece of cam chain guide to me
Re: Oil Change Question
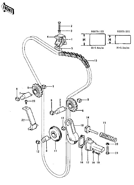
Posted: Thu Jul 30, 2020 7:37 pm
Author: popsA1
Oh dear. What you’ve got there in the bottom part of the cam chain guide that fits in the barrels. Item 22.

- ka0208001003.jpg (67.99 KiB) Viewed 5117 times
It might be left there from a bad rebuild or it might have broken off. Either way, you’re going to want to remove the head and see what you’ve got in your barrels.
Re: Oil Change Question
Posted: Thu Jul 30, 2020 10:46 pm
Author: kiwikodi
Thanks popsa1
So looks like it’s a common fault (one of the only ones) of the Z1 and Z1A.
So my question now is, what is the easiest way to replace the chain guide? Do I have to strip the engine down or is there a shortcut?