Hi all, I have just fitted a second disc on my Kz900c.
All was going well until I started bleeding, the pipe into the new calliper was leaking, when I went to try and tighten it I noticed the pipe was very loose even though the nut was tight.
When I compared it to the original there was a nipple missing down in the hole. I have looked on parts lists and can’t find any mention of it, so has anyone come across this problem? Where can I get one or two? ( the original is a bit rough) or does anyone know an alternative?
The callipers are from a z1000, I had a right hand side on the left when I got the bike, so that’s really why I started the twin disc conversion.
Thanks hopefully
Nick.
Hello Guest User,
Please feel free to have a look around the forum but be aware that as an unregistered guest you can't see all of it and you can't post.
To access these 'Registered Users Only' areas simply register and login.
Please feel free to have a look around the forum but be aware that as an unregistered guest you can't see all of it and you can't post.
To access these 'Registered Users Only' areas simply register and login.
Brake calliper
Moderators: chrisu, paul doran, Taffus, KeithZ1R
Re: Brake calliper
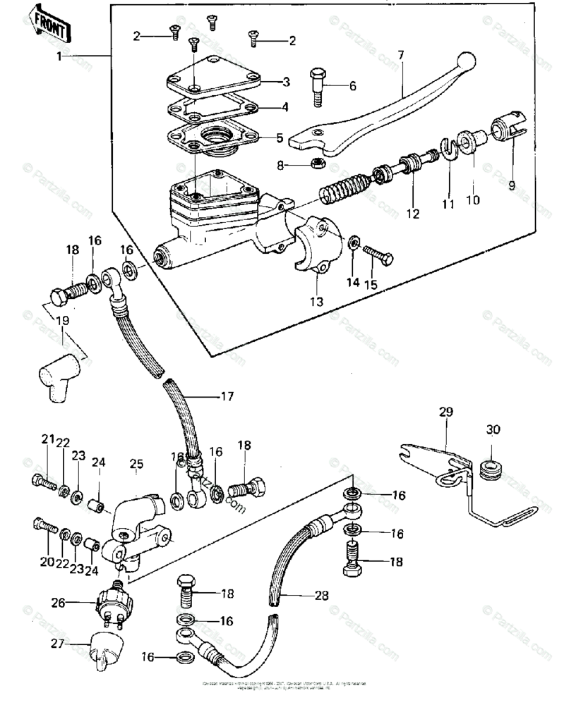
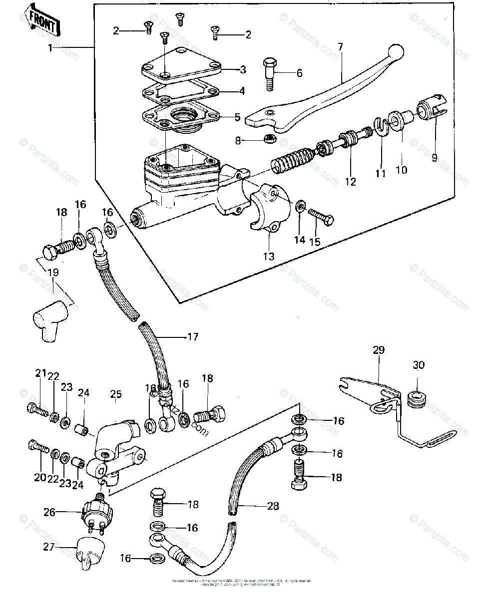
Thats where the banjo bolt on the brake line fites, never seen a cap like that before, (your bottom picture). Set up is the same as exploded diagrams below - Z900 - Z1000 A1, A2, A3, 1976 - 1980
Last edited by ADRIAN H on Tue Jun 16, 2020 4:06 pm, edited 1 time in total.
adrianhorsfield@live.co.uk
Sunny Bournemouth. Dorset. UK.
Sunny Bournemouth. Dorset. UK.
Re: Brake calliper
Thanks mate, I’ve just realised I bought a rear facing calliper which should have a banjo bolt not a metal pipe. What a pain, otherwise they are exactly the same, there must be a way of fitting a metal pipe 

Who is online
Users browsing this forum: No registered users and 53 guests
